下载APP
医师实践技能考试
首页
>
医师实践技能考试
>
成绩查询
全国
北京
天津
河北
山西
辽宁
吉林
上海
江苏
浙江
安徽
福建
江西
山东
河南
黑龙江
湖北
湖南
广东
广西
海南
四川
重庆
贵州
云南
陕西
甘肃
青海
宁夏
新疆
西藏
内蒙古
Template comment not closed, line number is 3
2020年呼和浩特考点7月11—16日中医类别医师资格实践技能考试成绩公布!
2020-07-22
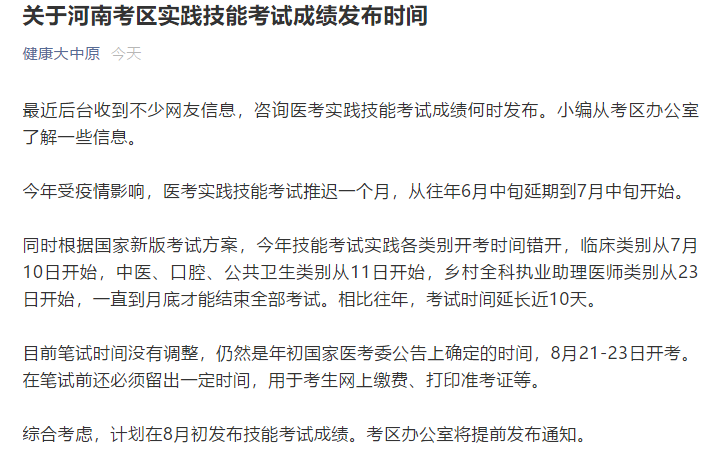
河南考区2020年医师实践技能考试技能成绩发布时间确定!8月初公布!
2020-07-22
四川省泸州考点2020年210类别实践技能考试成绩公布(含合格名单)
2020-07-22
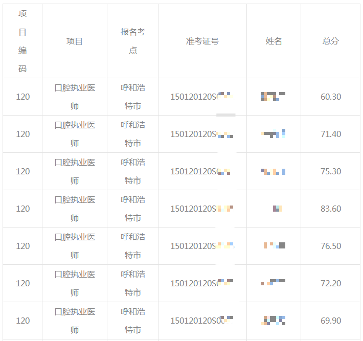
2020年7月11—16日呼和浩特考点口腔类别医师资格实践技能考试成绩公布
2020-07-22
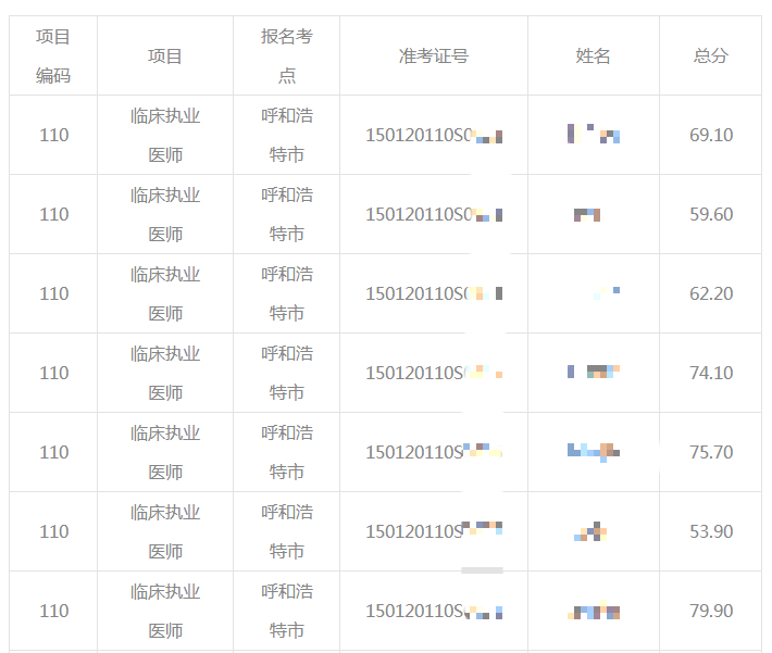
2020年呼和浩特市临床类别医师实践技能考试7月11—16日技能成绩公布
2020-07-22
山西运城考点2020年医师资格实践技能考试7月16日技能考试成绩公布
2020-07-22
2020年佳木斯考点国家医师实践技能考试成绩什么时候公布?
2020-07-22
2020年雅安市临床类别实践技能考试7月18日技能成绩公布(含名单)
2020-07-22
2020年四川雅安考点中医类别医师实践技能考试7月18、19日技能成绩公示
2020-07-22
黑龙江省2020年国家医师实践技能考试技能成绩查询入口已经开通
2020-07-22
2020年内蒙古包头考点临床类医师实践技能考试别7月19日技能考试成绩公示
2020-07-22
2020年雅安考点临床类别医师实践技能考试7月14日技能成绩公布
2020-07-22
2020年7月19日吉林长春市临床助理实践技能考试成绩公布(含通过考生准考证号)
2020-07-22
2020吉林长春医师资格实践技能考试(口腔助理医师)7.18日技能考试成绩公布
2020-07-21
2020年吉林长春考点7月18日临床助理医师实践技能考试成绩公布!附通过考生准考证号
2020-07-21
四川省雅安市2020年临床执业医师类别实践技能7月17日考试技能成绩公布
2020-07-21
2020年雅安考点中医执业医师实践技能考试7月17日技能考试成绩公布!
2020-07-21
2020年四川雅安考点临床类别医师实践技能考试7月16日技能考试成绩单公布!
2020-07-21
泸州考点2020年7月17日口腔执业助理医师实践技能考试成绩公布!含合格名单
2020-07-21
2020年四川省泸州考点临床类别医师实践技能7月16日技能考试成绩公布!
2020-07-21
四川省绵阳市2020年医师实践技能考试成绩查询时间、技能成绩查询方式
2020-07-21
2020年长春考点口腔类别医师资格实践技能考试7月17日技能成绩公布(含合格名单)
2020-07-21
吉林长春市2020临床类别医师实践技能考试7月17日技能成绩公布(含通过考生准考证号)
2020-07-21
2020年长春市中医师承助理医师资格实践技能考试7月17日技能考试成绩合格考生名单
2020-07-21
长春考点2020年7月17日中西医助理医师实践技能考试成绩公布(符合格名单)
2020-07-21
吉林长春考点2020年7月17日中医师承执业医师实践技能考试成绩公布!(合格人员)
2020-07-21
长春考点2020年7月17日中西医执业医师实践技能考试成绩公布!附合格名单
2020-07-21
2020年7月17日、18日吉林考点口腔执业医师资格实践技能考试成绩公布
2020-07-21
吉林考点2020年7.17日医师实践技能考试(临床执业类别)技能考试成绩公布!
2020-07-21
内蒙古包头考点2020年7月18日医师资格实践技能(临床类别)考试成绩公布(附成绩单)
2020-07-21
吉林市2020年7月17日临床类别医师实践技能考试成绩公布,附通过考生准考证号
2020-07-21
内蒙古包头2020年临床类别医师实践技能考试7月17日技能成绩公布!
2020-07-21
2020年7月16日长春考点口腔执业助理医师实践技能考试合格考生名单
2020-07-21
2020年吉林长春市中医助理医师实践技能考试7月16日技能成绩通过考生准考证号
2020-07-21
2020年7月16日吉林长春考点中西医执业医师实践技能考试成绩公布(含合格名单)
2020-07-21
吉林省长春考点2020年7月16日实践技能考试(临床执业医师)技能成绩公布!
2020-07-21
2020年7月16日吉林考点口腔执业类别医师实践技能考试通过考生准考证号
2020-07-21
吉林市2020年7月16日临床类别医师实践技能考试成绩公布!附通过考生准考证号
2020-07-21
内蒙古包头考点2020年临床类别医师实践技能考试7月16日技能成绩公布!
2020-07-21
2020年临床助理医师技能考试雅安考点7月14日技能考试成绩公布
2020-07-20
2020年7月15日雅安考点临床类别医师实践技能考试成绩公布(附合格名单)
2020-07-20
四川省泸州考点2020年7月16日口腔执业医师实践技能考试成绩哪里查?
2020-07-20
四川泸州考点2020年7月15日临床执业医师实践技能考试成绩公布(符合格名单)
2020-07-19
2020年四川宜宾考点医师实践技能考试7月15日技能成绩合格名单
2020-07-19
四川宜宾市2020年7月13日医师实践技能考试成绩公布(附合格名单)
2020-07-18
2020年四川省宜宾考点医师考试实践技能考试7月11日技能考试成绩合格名单
2020-07-18
2020年7月14日吉林考点师承执业类别医师资格实践技能考试合格名单
2020-07-17
吉林考点2020年7月15日口腔执业类别医师资格实践技能考试成绩合格名单
2020-07-17
2020年7月15日吉林考点临床执业类别医师资格实践技能考试合格名单
2020-07-17
2020年7月14日四川省宜宾考点医师资格考试实践技能考试成绩公布
2020-07-17
加载更多
第17页
第18页
第19页
第20页
第21页
第22页
正保医学教育网客户端
免费下载
选课
试听
招生方案
书店
资料
404 Not Found
404 Not Found
nginx