广西梧州卫生健康委员会发布了一则卫生专业技术资格考试、护士执业资格考试合格人员资格证书领取通知,具体通知内容如下:
各位考生:
2023年度卫生专业技术资格考试、护士执业资格考试合格人员资格证书已经办好,请考生本人携带个人身份证原件到报考现场审核确认点领取,领取时间为正常工作日08:00-12:00,15:00-18:00。
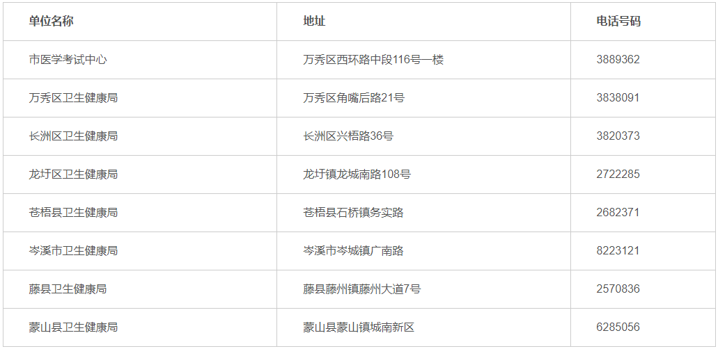
各县(市、区)确认点地址与联系电话:

市直医疗卫生健康单位的考生请到单位人事科领取;梧州职业学院、梧州市卫生学校和梧州医学高等专科学校考生到学校领取。
梧州市卫生健康委员会
2023年8月24日