护士资格

考试动态
复习指导
互动交流
首页 > 护士资格 > 报名时间 > 正文

六盘水市2024年护士执业资格考试报名及现场确认有关事项的通知

热点内容推荐

每日一练> 课程详情>
考试政策> 学习资料>

六盘水市卫生健康局关于2024年护士执业资格考试报名及现场确认有关事项的通知公布啦!医学教育网整理具体内容如下:

各市(区、特区)卫生健康局、市直属医疗卫生机构,各有关单位:

根据全国护士执业资格考试委员会办公室《关于2023年护士执业资格考试有关问题的通知》(护考办发〔2023〕4号)、国家卫生健康委人才交流服务中心《关于2024年护士执业资格考试考务工作安排的通知》(卫人才发〔2023〕81号)精神,2024年护士执业资格考试定于2023年4月27-28日举行,为保证我市考试工作顺利进行,现就有关事项公告如下:

一、报名资格条件

凡符合原卫生部、人力资源社会保障部印发的《护士执业资格考试办法》(部长令第74号)中报名条件的人员,可以报名参加考试。各级卫生健康行政部门及报名点要严格按照《护士条例》和《护士执业资格考试办法》审定考生报名资格,对不符合报名条件的人员,严禁参加考试。

二、报名管理

2023年12月7—20日期间,考生登录国家卫生健康委人才交流服务中心官网进行网上预报名。考生在网报注册时须使用微信关注“中国卫生人才网”公众号并绑定报名用户,以便通过微信登录账户、找回密码、接收缴费、考试等相关信息推送。预报名时须仔细核对本人姓名、身份证号、性别、出生年月等信息是否与真实信息完全一致。

完成网上预报名后,须携带相关证明材料(见附件1,包括原件和复印件)及报名申请表,在考点规定的时间内到指定地点进行现场确认。

完成现场确认后或考试实施前个人信息发生变更或发现填报错误的,请在国家卫生健康委人才交流服务中心官网下载《考生注册信息修改/删除申请表》,填写完毕后及时向现场确认点或考点报告并登记修改。考试成绩公布之后所有信息均不能进行修改。

三、现场确认

现场确认时间:2023年12月8—21日。为合理安排现场确认时间,结合各报名点工作实际,现将各报名点现场确认的时间安排如下(具体详见附件2)。

现场确认地点:严格按照属地化管理原则进行现场确认。

(一)申请人为2024年在校应届毕业生的,由所在学校为本校应届毕业生集中办理现场确认手续。学校向市卫生健康局考点申请在学校设立报名点,安排专人负责,统一组织报名确认。考点不单独受理应届毕业考生个人的现场确认。

(二)申请人为非应届毕业生(往届考生)的,到本人工作单位所属的区(特区、市)卫生健康局所设报名点现场确认。

(三)市级办证的民营医疗机构需在考点办进行确认的,请单位负责人员组织安排进行统一现场确认。

现场确认所需资料:考生携带“2024年度护士执业资格考试报名申请表”,身份证、毕业证书原件及复印件到辖区卫生健康行政部门报名点进行现场确认(具体详见附件1)。各报名点对所辖考生进行现场确认时,要对考生是否具备考试报名条件进行初步审查,对不符合考试报名条件的一律不予现场确认。

四、资格审核

资格审核时间为2023年12月22日—2024年1月23日(具体时间及安排届时另行通知)。由考点组织各报名点对考生报名信息及申报材料进行交叉审核:一是认真审核考生报名资格;二是核对考生身份证、毕业证信息;三是审核考生上传的电子照片(含提交的照片)是否符合要求;四是核定考生工作单位是否填写规范。

各报名点现场确认后,应规范整理护士执业资格考试考生报名资料,按照考点办公室的统一安排,按时携考生报名资料到考点办审核。

五、收费相关事宜

(一)收费标准

按照贵州省卫生和计划生育委员会《关于卫生专业技术资格考试和护士执业资格考试收费标准的通知》(黔卫计发〔2017〕51号)执行,护士执业资格考试每人每科60元。

(二)缴费方式及时间

考生在考区资格审核完成后登录个人报考账号查看资格审核状态,通过资格审核的考生请在2024年1月29日-2月8日期间完成网上缴费。缴费具体事宜届时另行通知。逾期未缴费视为放弃考试。

六、考生责任

未经现场确认及缴费,网上报名无效,逾期不予确认。考生报名信息填报错误责任自负。考生工作单位名称不得简写,所在工作单位属于“事业法人”单位的,按照工作单位第一法人名称(即公章名称)填写;所在工作单位不属于“事业法人”单位的,填写经当地所属卫健局注册的“医药卫生机构”名称。

七、考试报名工作宣传

考试报名工作是考务管理及考试实施的基础,各区(特区、市)、市直医疗卫生单位要按照上级有关考试文件要求和省考区办公室工作部署,将考试报名文件及信息及时印发辖区所在学校、单位,采取多渠道和多种方式通知到符合考试条件的考生本人,统筹做好本地区的考试报名工作。

附件:1.2024年护士执业资格考试报名现场确认须知

        2.2024年护士执业资格考试报名现场确认工作安排表

2024年护士执业资格考试报名申请表


附件1 2024年护士执业资格考试报名现场确认须知

一、考生报名要求

1.报考学历为2002以后专科及以上学历的毕业考生在网上报名时必须如实填写“学校名称”、“教育情况”、“学历证书编号”相关信息。以便网报系统通过学信网对证书编号进行自动验证。学历信息填写错误的必须重新进行维护后再选择正确信息进行报名。

2.2024年在校应届毕业生在填写“工作单位名称”时,请统一填写为“□□□□□院校2024年应届毕业生”。

3.非应届毕业生(往届考生)填写的工作单位名称,工作单位属于“事业法人”单位的,按照工作单位第一法人名称(即公章名称)填写;工作单位不属于“事业法人”单位的,或工作单位为民营医疗机构的,填写经当地所属卫健局注册的“医疗卫生机构”名称。工作单位不得简写。

4.考生填写的姓名、性别、身份证号、出生年月须与本人所持身份证信息一致。

5.考生在网报注册时须使用微信关注“中国卫生人才网”公众号并绑定报名用户,以便通过微信登录账户、找回密码、接收缴费、考试等相关信息推送。

二、现场确认时申请人(考生)须提交下列材料

1.《2024年护士执业资格考试报名申请表》1份(网上填报、提交后打印),申请人为2024年在校应届毕业生的由所在学校审查盖章,申请人为非应届毕业生(往届考生)的由本人工作单位人事部门(或档案存放单位)审查盖章。

2.身份证原件(或贵州公安APP身份证电子证照)及1份复印件。

3.2024年在校应届毕业生,由所在学校统一提交下列资料:

(1)省教育厅、省卫生健康委同意所在学校当年举办护理、助产专业及招生的批文。

(2)本校统一出具的“应届毕业生毕业证明书”,并注明应届毕业生人数,附学校拟报省教育厅发放毕业证书的“2024年应届毕业生名单”(名单须提供Excel表格电子文件)。

4.非应届毕业生(往届考生)提供本人毕业证书原件及1份复印件。

5.上传和提交的照片要求

报名表和网上上传的照片必须相同,并为考生本人近期证件照(白底)。照片大小为一寸或小二寸,格式为jpg,大小必须在15kb-45kb之间。头部占照片尺寸的2/3,白色背景边框;面部正面头发不得过眉,应露双耳,常戴眼镜的考生应佩戴眼镜,不得佩戴首饰。除军人外其他报名人员不得着制式服装拍照;对生活照、视频捕捉、摄像头抓拍,女性穿背带式服装等照片一律不予确认。

考生上传的电子照片(含提交的照片)不符合要求的,考试管理机构在现场确认时可为考生重新采集照片并使用“照片审核修改工具”核验后上传,确保“准考证”制作及考试合格后“考试成绩合格证明”及“初级专业技术资格证”办理。

6.提交的相关证件复印件须有所在学校、单位人事部门(或档案存放单位)审查意见并加盖印章。

7.考生在现场确认及考试期间须仔细核对本人所填报的姓名、身份证号等相关信息。如须删除或修改请在国家卫生健康委人才交流服务中心官网下载《考生注册信息修改/删除申请表》,填写完毕后及时向现场确认点或考点报告并登记修改。考试成绩公布之后所有信息均不能进行修改。

三、做好报名信息确认工作

考点或报名点在现场确认时,应核对《2024年度护士执业资格考试申请表》信息与考生提交的材料信息是否一致。经确认报名后向考生提供《2024年度护士执业资格考试报名信息确认单》,要求考生认真核对报名信息并签名确认。

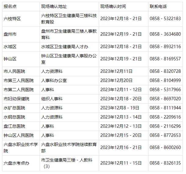
附件2 2024年六盘水市护士执业资格考试现场确认安排表

现场确认

注:以上各报名点现场确认时间均为工作日。

推荐阅读:

【报名】全国2024护士执业资格考试报名丨现场审核要求汇总

正保医学教育网
上医学教育网 做成功医学人
打开APP
全部评论(0打开APP查看全部 >
精品课程

2027年护士资格课程

豪华通关班

680

查看详情
热点推荐:
0
0
0
评论
取消
复制链接,粘贴给您的好友

复制链接,在微信、QQ等聊天窗口即可将此信息分享给朋友
前往医学教育网APP查看,体验更佳!
取消 前往
您有一次专属抽奖机会
可优惠~
领取
优惠
注:具体优惠金额根据商品价格进行计算
恭喜您获得张优惠券!
去选课
已存入账户 可在【我的优惠券】中查看