安康市卫生健康委员会发布了安康市2022年度卫生专业技术资格考试公告,医学教育网专门整理通知内容分享如下:
现就我市开展2022年度卫生专业技术资格考试工作公告如下:
考试时间
护理学初级(师)专业采用纸笔作答方式进行考试,具体安排如下:

报名安排
1.报名时间及方式。网上预报名:2021年12月20日至30日。报名方式:采用网上报名。报考人员登录中国卫生人才网,根据报名须知及提示在网上填写个人报名信息,并打印《2022年度卫生专业技术资格考试申报表》。
2.报名现场确认时间及地点。
报名现场确认时间:2021年12月21日至31日。

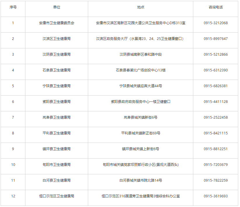
安康市卫健委负责市直卫生单位、市属各单位及市人才交流服务中心考生现场确认工作;各县(市、区)卫健局负责本县(市、区)内卫生单位、民营医疗机构以及县(市、区)人才交流服务中心考生现场确认工作。
申报材料
1.身份证复印件,工作单位出具正式的聘用证明表(附件)。
2.《2022年度卫生专业技术资格考试申报表》(人事部门或档案存放单位核实加盖印章)。
3.毕业证书、学位证书(硕士、博士必须提交学位证书)原件及复印件(报名条件中有关专业学历或学位的规定,是指国家教育和卫生健康委员会行政部门认可的正规院校毕业学历或学位)。
4.申报高一级专业技术职务任职资格的考生,还须提交本级卫生专业技术资格证书原件及复印件;有执业资格准入的专业必须同时提交执业证书原件及复印件。
5.2021年已参加过本专业考试未通过的考生可以只提交本人身份证和2021年度卫生专业技术资格考试成绩单原件及复印件。
6.一线人员报名还需提交《新冠肺炎疫情防控一线专业技术人员抗疫表现情况》和单位出具的正式文件。
以上所有纸质材料均须使用A4纸。
其他注意事项
1.准考证打印
2022年4月1日至17日,考生自行登录中国卫生人才网(网址:http://www.21wecan.com)打印准考证。
2.报名缴费
网上缴费功能将于2022年2月15-25日期间开通,各报名点及单位须提前告知考生及时查看资格审核状态,通过考点资格审核的考生务必在此期间完成网上交费,逾期未缴费视为放弃考试。
3.成绩发布及成绩单打印
考试结束后两个月内将在中国卫生人才网公布考试成绩,考生可在规定时间内下载打印成绩单。
以上“陕西省安康市2022年度卫生专业技术资格考试公告”的文章内容由医学教育网小编整理,如果对您有所帮助,可以分享给您的朋友和同学。
推荐阅读:
全国2022年卫生资格考试报名现场确认时间、地点、资料汇总