广西桂林市卫生健康委员会发布2022年度卫生专业技术资格考试公告,医学教育网整理具体内容如下:
根据国家、自治区卫生健康人才与技术交流服务中心安排,为做好2022年卫生专业技术资格考试桂林考点考试工作,现将有关事项公告如下:
一、报名方式及时间
报名采用网上报名,现场确认的方式。请符合报名条件的考生于2021年12月20—30日期间,登录中国卫生人才网(www.21wecan.com)进行网上报名,并打印本人《2022年度卫生专业技术资格考试报名申报表》,持报名申报表及相关证件、材料(详见附件1)于2021年12月21—31日期间,到所在辖区卫健局、单位进行现场确认,报名及确认具体事宜请考生向所在辖区、单位咨询,逾期不予受理。
二、考试方式、科目及时间
2022年卫生专业技术资格考试采用人机对话和纸笔作答方式考试,具体考试时间安排在4月9、10、16、17日进行。
三、报名考试咨询电话(见附件2)
附件:1.报名条件及现场确认所需材料
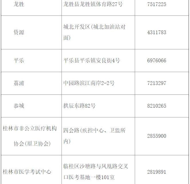
2.各县(市、区)确认点联系地址及电话
附件1
卫生专业技术资格考试报名条件及现场确认所需材料
一、报考条件
(一)参加医、药、护、技四个专业类别卫生专业技术资格考试的人员,必须达到下列基本条件:
1.遵守国家宪法和法律,贯彻新时代卫生与健康工作方针,自觉践行“敬佑生命、救死扶伤、甘于奉献、大爱无疆”的职业精神,具备良好的政治素质、协作精神、敬业精神和医德医风。
2.身心健康,心理素质良好,能全面履行岗位职责。
3.卫生专业技术人员申报医疗类、护理类职称,应取得相应职业资格,并按规定进行注册,取得相应的执业证书。
(二)初级职称:
除必须达到上述基本条件外,并符合以下条件的,可报名参加考试:
1.药(技)士:具备相应专业中专、大专学历,可参加药(技)士资格考试。
2.护(师):具备大学本科及以上学历或学士及以上学位,从事护士执业活动满一年,可直接聘任护师职称。具备大专学历,从事护士执业活动满3年;或具备中专学历,从事护士执业活动满5年,可参加护师资格考试。
3.药(技)师:具备相应专业硕士学位;或具备相应专业大学本科学历或学士学位,从事本专业工作满1年;或具备相应专业大专学历,从事本专业工作满3年;或具备相应专业中专学历,取得药(技)士职称后,从事本专业工作满5年,可参加药(技)师资格考试。
(三)中级职称:
除必须达到上述基本条件外,具备相应专业学历,并符合以下条件的,可报名参加考试:
1.临床、口腔、中医类别主治医师:具备博士学位,并取得住院医师规范化培训合格证书;或具备硕士学位,取得住院医师规范化培训合格证书后从事医疗执业活动满2年;或具备大学本科学历或学士学位,取得住院医师规范化培训合格证书后从事医疗执业活动满2年;或具备大学本科学历或学士学位,经执业医师注册后从事医疗执业活动满4年;或具备大专学历,经执业医师注册后从事医疗执业活动满6年;或具备中专学历,经执业医师注册后从事医疗执业活动满7年。
2.公共卫生类别主管医师:具备博士学位并经执业医师注册后从事公共卫生执业活动;或具备硕士学位,经执业医师注册后从事公共卫生执业活动满2年;或具备大学本科学历或学士学位,经执业医师注册后从事公共卫生执业活动满4年;或具备大专学历,经执业医师注册后从事公共卫生执业活动满6年;或具备中专学历,经执业医师注册后从事公共卫生执业活动满7年。
3.主管护师:具备博士学位并注册从事护理执业活动;或具备硕士学位,经注册后从事护理执业活动满2年;或具备大学本科学历或学士学位,经注册并取得护师职称后,从事护理执业活动满4年;或具备大专学历,经注册并取得护师职称后,从事护理执业活动满6年;或具备中专学历,经注册并取得护师职称后,从事护理执业活动满7年。
4.主管药(技)师:具备博士学位;或具备硕士学位,取得药(技)师职称后,从事本专业工作满2年;或具备大学本科学历或学士学位,取得药(技)师职称后,从事本专业工作满4年;或具备大专学历,取得药(技)师职称后,从事本专业工作满6年;或具备中专学历,取得药(技)师职称后,从事本专业工作满7年。
二、现场确认所需材料
(一)2022年度卫生专业技术资格考试报名申报表。
(二)有效身份证件原件和复印件1份。
(三)学历(学位)证书原件和复印件1份。
(四)报考药(技)、护的初级(师)资格或中级资格者,报名条件中需具备初级(士)资格或初级(师)资格的,须提交相应的资格证原件和复印件1份。报考护理学专业的还必须提交《护士执业证》原件与复印件1份。
(五)报考301至365以及392专业者,须提交《执业医师资格证》《医师执业证》原件与复印件1份,属于自治区内二级、三级公立医院(不含非卫生系统单位)、妇幼保健院的医师,须提交《广西卫生专业技术人员到基层工作考核卡》。
(六)报名条件中对参加住院医师规范化培训有要求的,须
提交住院医师规范化培训合格证书原件与复印件1份。
(七)其他需补充的材料请考生向所在辖区、单位咨询。
附件2各县(市、区)卫健局地址、电话


