中医师承

考试动态
复习指导
资料领取
首页 > 中医师承 > 新疆 > 正文

新疆对传统医学师承和确有专长人员申请参加医师资格考试的资格认定

新疆对传统医学师承和确有专长人员申请参加医师资格考试的资格认定大家都在关注,根据《新疆2021年传统医学师承人员出师考核报名及考试通知》2021年新疆传统医学师承出师考核报名正在进行中医学教育网编辑为您整理新疆对传统医学师承和确有专长人员申请参加医师资格考试的资格认定要求如下。辅导课程>>

现场办理时间地点:乌鲁木齐市水磨沟区准噶尔街299号益民大厦3楼自治区政务服务中心自治区卫生健康委员会政务服务大厅A1号、A2号、A3号、A4号服务窗口。

工作日 周一至周五 10:30-18:30 中午不休息

新考生报名时间4月22日前

老考生报名时间4月30日前

报名入口:自治区传统医学师承出师考核报名系统

准考证打印时间:5月5日前

考试时间:2021年5月15日-2021年5月16日

缴费时间:于2021年5月10日前

考生登录新疆维吾尔自治区传统医学师承出师考核报名系统(https://zyks.xjqmjk.com/municipality-exam-client/traditional/index.html#/register)首页找到本系统入口,建议使用最新版谷歌浏览器,低版本的浏览器或非主流浏览器将有可能无法正常使用本系统。

设立依据 法律法规名称 《中华人民共和国执业医师法》
依据文号 中华人民共和国第九届全国人民代表大会常务委员会第三次会议于1998年6月26日修订通过
条款号 第十一条
条款内容
以师承方式学习传统医学满三年或者经多年实践医术确有专长的,经县级以上人民政府卫生行政部门确定的传统医学专业组织或者医疗、预防、保健机构考核合格并推荐,可以参加执业医师资格或者执业助理医师资格考试。考试的内容和办法由国务院卫生行政部门另行制定。

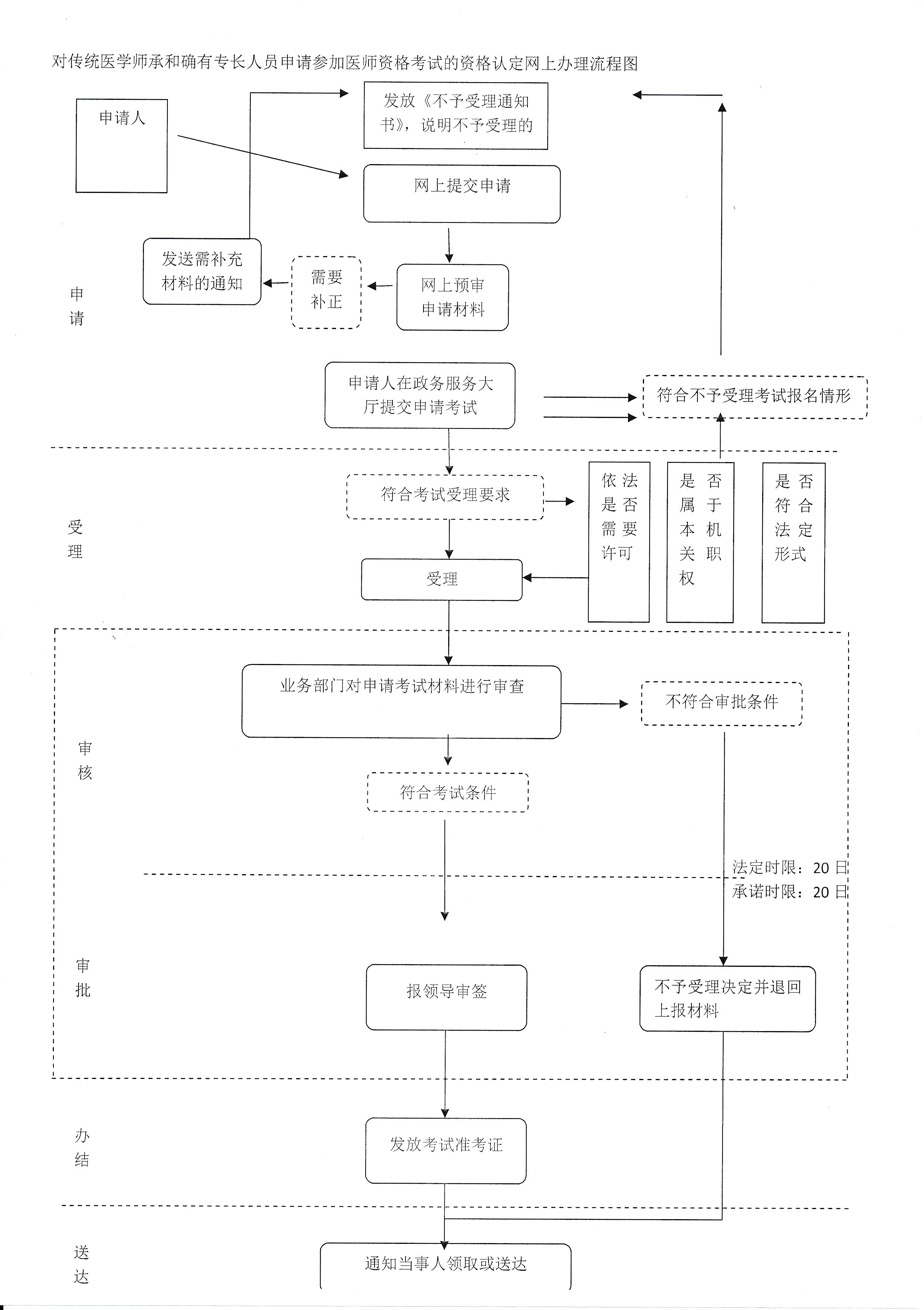
对传统医学师承和确有专长人员申请参加医师资格考试的资格认定网上办理流程图

小手动图

新疆2021年传统师承/确有专长考试考试指导微信群

dianxiao:2021师承报名指导微信群

相关阅读:


2021年新疆各市区传统医学师承出师考核报名通知及常见问题汇总 

新疆维吾尔自治区2021年传统医学师承出师考核报名系统操作手册 

新疆2021年传统医学师承人员出师考核报名及考试通知

新疆博乐市关于2021年传统医学师承人员出师考核考务工作的通知

以上是医学教育网小编整理的“新疆对传统医学师承和确有专长人员申请参加医师资格考试的资格认定”相关内容,想了解更多传统师承和确有专长医师资格考试知识,请持续关注医学教育网传统师承和确有专长医师资格考试栏目。

正保医学教育网
上医学教育网 做成功医学人
打开APP
全部评论(0打开APP查看全部 >
精品课程

中医师承/确有专长无忧实验班

辅导课程

1280

查看详情
热点推荐:
0
0
0
评论
取消
复制链接,粘贴给您的好友

复制链接,在微信、QQ等聊天窗口即可将此信息分享给朋友
前往医学教育网APP查看,体验更佳!
取消 前往
您有一次专属抽奖机会
可优惠~
领取
优惠
注:具体优惠金额根据商品价格进行计算
恭喜您获得张优惠券!
去选课
已存入账户 可在【我的优惠券】中查看