下载APP
中医师承
考试动态
政策解读
考试大纲
辅导精华
考试经验
全部
新疆2021年传统医学师承人员出师考核结果公示
新疆
2021-05-28
新疆考区2021年中医师承考试准考证打印入口及时间
新疆
2021-05-12
新疆2021年中医师承医师资格考试5月15日开考!
新疆
2021-05-12
请叙述不孕症的问诊——新疆传统中医师承人员医师考核资料
新疆
2021-04-30
请叙述阴疮的问诊——新疆传统师承考试确有专长人员医师模拟试题
新疆
2021-04-29
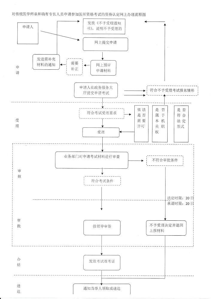
新疆对传统医学师承和确有专长人员申请参加医师资格考试的资格认定
新疆
2021-04-28
2021年新疆传统医学师承出师考核报名费如何缴纳?截止到何时?
新疆
2021-04-28
如何得知2021年新疆传统医学师承出师考核报名审核是否通过?
新疆
2021-04-28
如何在导出并打印2021年新疆传统医学师承出师考核报名申请表?
新疆
2021-04-28
新疆维吾尔自治区传统医学师承出师考核报名系统如何找回登录密码?
新疆
2021-04-28
新疆维吾尔自治区2021年传统医学师承出师考核报名系统操作手册
新疆
2021-04-28
新疆2021年传统医学师承人员出师考核报名及考试通知
新疆
2021-04-28
新疆博乐市关于2021年传统医学师承人员出师考核考务工作的通知
新疆
2021-04-28
2021年新疆传统师承确有专长人员中医外科学模试题
新疆
2021-04-09
新疆传统师承中医外科学:下列关于辨脓的方法,错误的是哪个?
新疆
2021-03-26
新疆师承人员温里剂的适用范围及应用注意事项
新疆
2021-03-05
新疆2021年传统师承人员中医内科脾胃病证:胃痛、便秘
新疆
2021-02-24
新疆传统师承医师考试泌尿系统疾病(慢性肾小球肾炎、尿路感染)
新疆
2021-02-19
督脉腧穴、任脉腧穴-——新疆2021年传统医学师承医师考点
新疆
2021-02-18
新疆开展中医医术确有专长人员医师资格考核摸底报名的通知
新疆
2018-05-14
新疆2018年传统医学师承人员出师考核工作的通知
新疆
2018-04-24
新疆哈密市中医确有专长考试辅导培训班视频讲座等您报
新疆
2018-04-24
新疆吐鲁番中医确有专长考试辅导培训班视频讲座等您报
新疆
2018-02-27
新疆克拉玛依中医确有专长考试培训一般是多少钱
新疆
2018-01-24
新疆乌鲁木齐中医确有专长考试培训班讲座视频热招中
新疆
2017-12-29
加载更多
正保医学教育网客户端
免费下载
选课
试听
招生方案
书店
资料