中医师承

考试动态
复习指导
资料领取
首页 > 中医师承 > 证书 > 正文

新疆地区《传统医学师承出师证书》网上办理/现场办理流程图

新疆地区《传统医学师承出师证书》网上办理/现场办理流程图大家都在关注,出师考核合格者由省级中医药管理部门颁发由国家中医药管理局统一式样的《传统医学师承出师证书》。医学教育网编辑为您整理新疆地区《传统医学师承出师证书》网上办理/现场办理流程图如下。

《传统医学师承出师证书》办理地点:

乌鲁木齐市水磨沟区准噶尔街299号益民大厦3楼自治区政务服务中心自治区卫生健康委员会政务服务大厅A1号、A2号、A3号、A4号服务窗口。

工作日 周一至周五 10:30-18:30 中午不休息

《传统医学师承出师证书》网上办理流程:

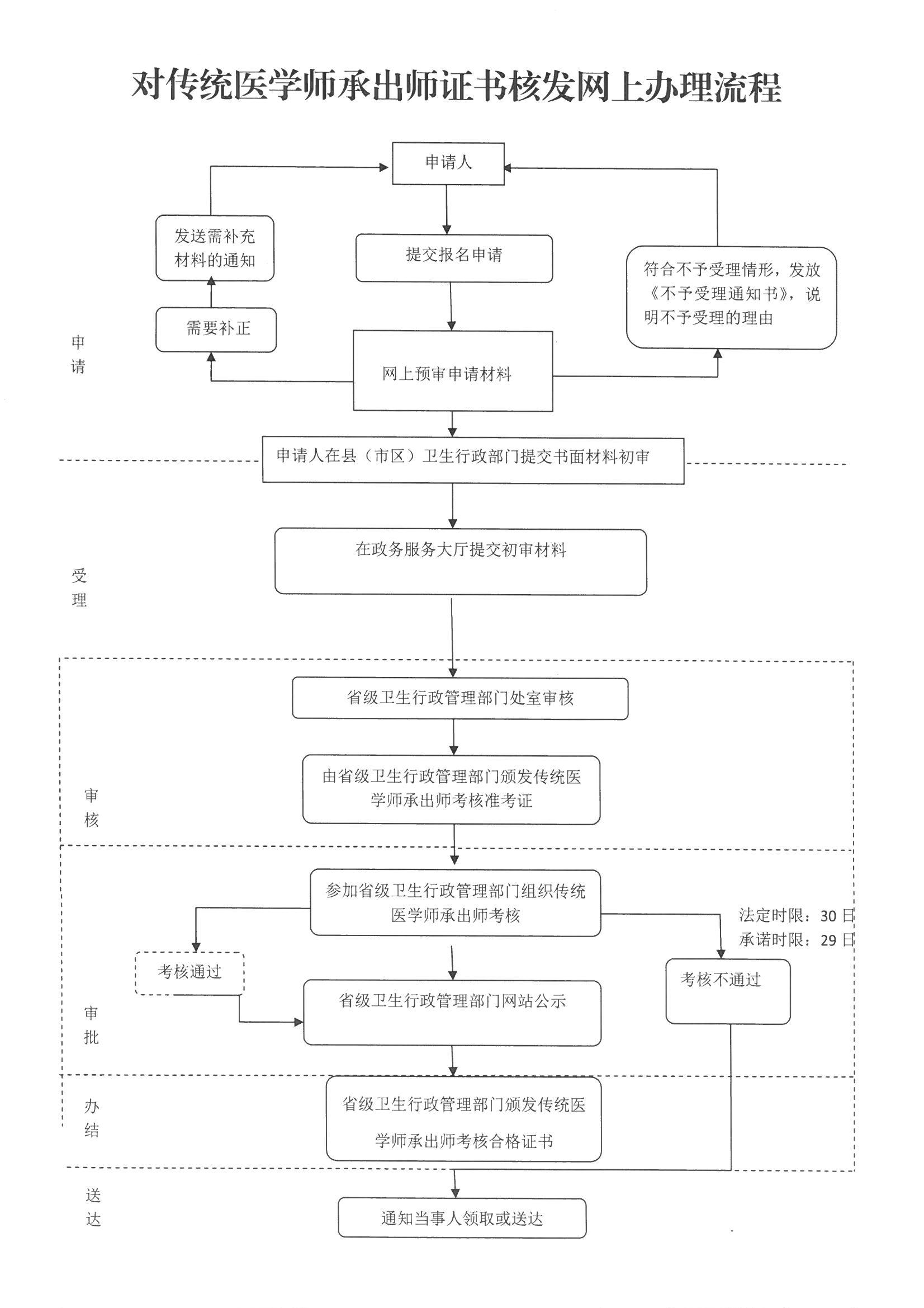
首环节:网上申请报名材料;第二环节:经县市区、地州市卫生行政部门初审,省级卫生行政部门复审:第三环节:省级卫生行政部门组织考核;第四环节:网站公示;第五环节:合格颁证。

对传统医学师承出师证书核发网上办理流程

《传统医学师承出师证书》窗口办理流程:

首环节:网上申请报名材料;第二环节:经县市区、地州市卫生行政部门初审,省级卫生行政部门复审:第三环节:省级卫生行政部门组织考核;第四环节:网站公示;第五环节:合格颁证。

对传统医学师承出师证书核发窗口办理流程

小手动图

新疆2021年传统医学师承考试报名指导微信群

dianxiao:2021师承报名指导微信群

相关阅读:

2021年新疆各市区传统医学师承出师考核报名通知及常见问题汇总

全国2021年传统医学师承和确有专长人员考核报名通知汇总

以上是医学教育网小编整理的“新疆地区《传统医学师承出师证书》网上办理/现场办理流程图”相关内容,想了解更多传统师承和确有专长医师资格考试知识,请持续关注医学教育网传统师承和确有专长医师资格考试栏目。

正保医学教育网
上医学教育网 做成功医学人
打开APP
全部评论(0打开APP查看全部 >
精品课程

中医师承/确有专长无忧实验班

辅导课程

1280

查看详情
热点推荐:
0
0
0
评论
取消
复制链接,粘贴给您的好友

复制链接,在微信、QQ等聊天窗口即可将此信息分享给朋友
前往医学教育网APP查看,体验更佳!
取消 前往
您有一次专属抽奖机会
可优惠~
领取
优惠
注:具体优惠金额根据商品价格进行计算
恭喜您获得张优惠券!
去选课
已存入账户 可在【我的优惠券】中查看