Template comment not closed, line number is 3
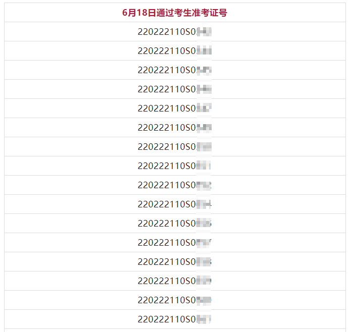
6月18日吉林考点2022年医师资格实践技能考试(临床执业)合格名单!医学教育网老师为大家整理总结如下,希望可以帮助到各位:
【相关通知汇总】吉林考点2022年医师资格实践技能成绩查询相关通知汇总

请参加6月18日吉林考点实践技能考试临床执业类别的考生根据准考证号查询考试通过情况,最终考试成绩以国家医学考试网()公布为准!

通知原文:
想要查看通过考生名单?想要了解今年的考试题目、考试难度、考情分析?医学教育网为大家提供免费交流群,提前占位,不要错过哦!

以上分享的内容,由医学教育网小编搜集整理,如果您觉得对您有所帮助,可以分享给朋友。想了解更多医学考试信息、复习资料、备考干货请关注医学教育网。