执业医师技能

考试动态
复习指导
互动交流
首页 > 执业医师技能 > 成绩查询 > 正文

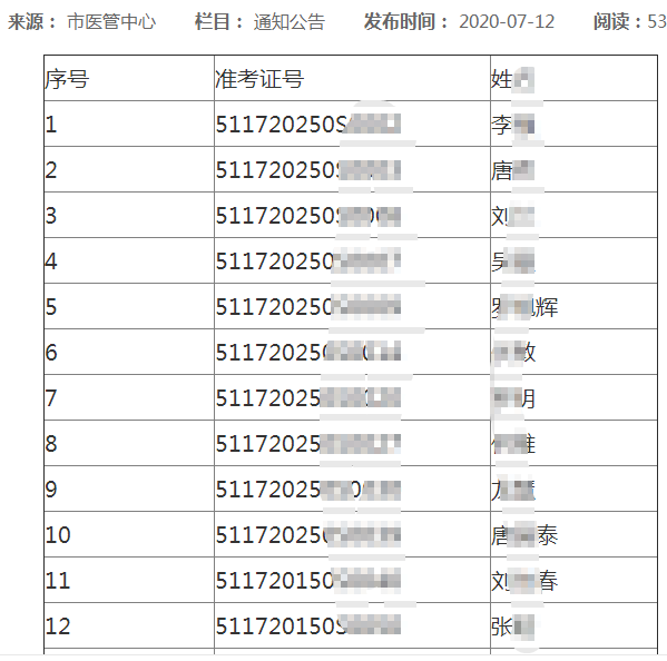
中医类执业医师实践技能考试7月12日四川遂宁考点技能考试未通过名单

关于“中医类执业医师实践技能考试7月12日四川遂宁考点技能考试未通过名单”相关内容,相信参加2020年执业医师医师实践技能考试的考生都在关注,为方便大家了解,在此医学教育网小编为大家整理如下内容:

点击查看具体名单>

技能成绩查询

编辑推荐:

实践技能考后讨论区

2020年医师技能考试网校课程对你帮助大吗?欢迎填写考后调查问卷

2020年全国医师资格实践技能考试成绩查询时间|入口|名单汇总

2020年医师实践技能考试模拟系统来了!含实战模+考历年试题

以上为“中医类执业医师实践技能考试7月12日四川遂宁考点技能考试未通过名单”全部内容,由医学教育网小编整理,更多信息请随时关注医学教育网。

打开APP看资讯 更多更快更新鲜 >>
精品课程

实践技能课程

2021年好课

380起

查看详情
热点推荐:
考生必看
取消
复制链接,粘贴给您的好友

复制链接,在微信、QQ等聊天窗口即可将此信息分享给朋友
前往医学教育网APP查看,体验更佳!
取消 前往