执业医师技能

考试动态
复习指导
首页 > 执业医师技能 > 成绩查询 > 正文

2020年呼和浩特市中医执业医师资格实践技能考试7月11-14日技能成绩公布

关于“2020年呼和浩特市中医执业医师资格实践技能考试7月11-14日技能成绩公布”相关内容,相信参加2020年执业医师实践技能考试的考生都在关注,为方便大家了解,在此医学教育网小编为大家整理如下内容:

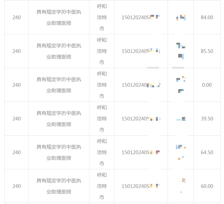
呼和浩特中医类别技能成绩

呼和浩特中医类别技能成绩1

具体准考证号及成绩,查看链接地址:http://wjw.huhhot.gov.cn/wskwxx/202007/t20200715_710523.html

编辑推荐:

实践技能考后讨论区

2020年医师技能考试网校课程对你帮助大吗?欢迎填写考后调查问卷

2020年全国医师资格实践技能考试成绩查询时间|入口|名单汇总

2020年医师实践技能考试模拟系统来了!含实战模+考历年试题

以上为“2020年呼和浩特市中医执业医师资格实践技能考试7月11-14日技能成绩公布”全部内容,由医学教育网小编整理,更多信息请随时关注医学教育网。

正保医学教育网
上医学教育网 做成功医学人
打开APP
精品课程

高效定制班

直播+录播 含班级服务

4180

详情>>
热点推荐:
取消
复制链接,粘贴给您的好友

复制链接,在微信、QQ等聊天窗口即可将此信息分享给朋友
前往医学教育网APP查看,体验更佳!
取消 前往