医师资格

考试动态
复习指导
首页 > 医师资格 > 报名时间 > 正文

长春考点2021年国家医师资格考试医学综合考试“一年两试”第二试报名缴费成功情况公示

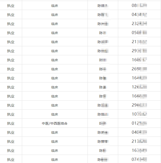
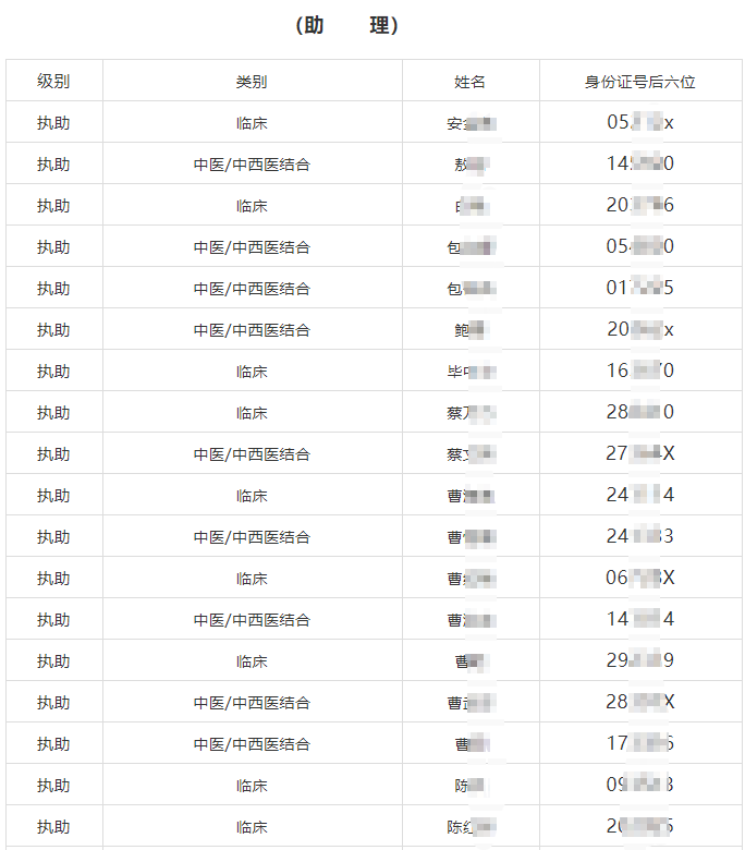
根据2021年医师资格考试医学综合考试“一年两试”第二试工作统一部署安排,参加第二次考试考生网上报名时间从10月19日至10月24日24时截止,长春考点网上收费工作于2021年10月20日至10月24日24时组织开展。至网报、缴费截止期限,长春考点共有1563名考生网上报名成功且有效缴费成功,现将名单公布如下:

长春考点2021年医师资格考试“一年两试”第二试

报名缴费成功考生名单(部分名单截取)

长春考点成功名单-1

长春考点成功名单-2

长春考点成功名单-3

长春考点成功名单-7

全文地址:https://mp.weixin.qq.com/s/KvinuTgv4ri_yCQSXA6Nbg

请考生密切关注“长春市医学考试中心”微信公众平台“一年两试”相关公告。

【相关通知】缴费 | 长春考点"一年两试"第二试未缴费考生名单公示

报名成功后,各位考生需要做的就是冲刺学习了,医学教育网针对二试推出考前急救班本次课程为全直播课,将以“各疾病的试题”为基点,从发病机制、病因、临床表现到诊断、治疗,深挖疾病涉及的考点!立即查看课程>>

热点关注:

【速来围观】2021年医师资格通关学员“我的医考之路”有奖征文投稿展示!

全国2021年执业/助理医师资格证书电子化注册流程等常见问题汇总

全国2021年医师资格考试医学综合考试(二试)网上缴费通知汇总

m端690_200

以上分享的内容,由医学教育网小编搜集整理,如果您觉得对您有所帮助,可以分享给朋友。想了解更多医学考试信息、复习资料、备考干货请关注医学教育网。

正保医学教育网
上医学教育网 做成功医学人
打开APP
全部评论(0打开APP查看全部 >
精品课程

高效定制班

直播+录播 含班级服务

4180

详情>>
热点推荐:
0
0
0
评论
取消
复制链接,粘贴给您的好友

复制链接,在微信、QQ等聊天窗口即可将此信息分享给朋友
前往医学教育网APP查看,体验更佳!
取消 前往
您有一次专属抽奖机会
可优惠~
领取
优惠
注:具体优惠金额根据商品价格进行计算
恭喜您获得张优惠券!
去选课
已存入账户 可在【我的优惠券】中查看