医师资格

考试动态
复习指导
首页 > 医师资格 > 成绩查询 > 正文

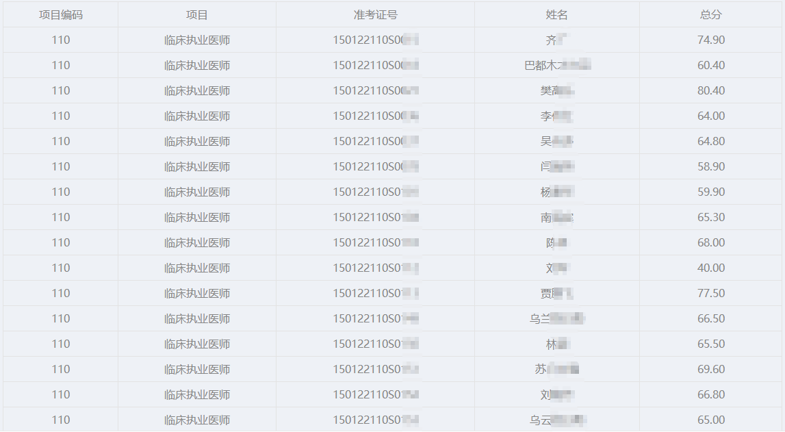
2022年医师资格实践技能考试呼和浩特考点成绩公示(7月14日临床类别)

2022年医师资格实践技能考试呼和浩特考点成绩公示(7月14日临床类别)已公布,医学教育网老师为大家整理总结如下,希望可以帮助到各位:

【相关通知】呼和浩特考点2022年医师资格实践技能成绩查询相关通知汇总

呼和浩特14日

呼和浩特14日-2

查看详细内容:

以上分享的内容,由医学教育网小编搜集整理,如果您觉得对您有所帮助,可以分享给朋友。想了解更多医学考试信息、复习资料、备考干货请关注医学教育网。

【相关推荐】

考前刷题就上“正保医学题库”小程序,海量考题等你来刷!

2022年执业/助理医师综合笔试「考前密训班」上线 !专为考前冲刺打造!

全国2022年医师资格实践技能考试各地成绩查询时间/入口/名单汇总

正保医学教育网
上医学教育网 做成功医学人
打开APP
全部评论(0打开APP查看全部 >
精品课程

高效定制班

直播+录播 含班级服务

4180

详情>>
热点推荐:
0
0
0
评论
取消
复制链接,粘贴给您的好友

复制链接,在微信、QQ等聊天窗口即可将此信息分享给朋友
前往医学教育网APP查看,体验更佳!
取消 前往
您有一次专属抽奖机会
可优惠~
领取
优惠
注:具体优惠金额根据商品价格进行计算
恭喜您获得张优惠券!
去选课
已存入账户 可在【我的优惠券】中查看