助理医师考试

考试动态
复习指导
首页 > 助理医师考试 > 现场确认 > 正文

济源市2021年乡村全科助理执业医师初审合格人员名单

关于“济源市2021年乡村全科助理执业医师初审合格人员名单”的公示,相信很多执业助理医师考生都在关注,医学教育网编辑为大家整理如下:

2021年医师资格考试报名已经结束,经我委现场审核,济源考点符合2021年报考乡镇全科助理医师的人员共有13人,现将人员名单公示如下(详见附件),如有异议,请拨打0391—6633835。

2021年2月24日

附件:济源考点2021年乡村全科助理执业医师考试考生报名资格初审合格人员名单

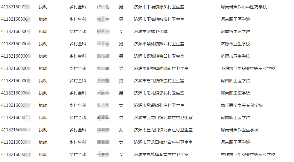
济源市2021年乡村全科助理执业医师初审合格人员名单

报名编号报考级别报考类别姓名性别工作单位学校

编辑推荐:

医考生必备!2021年医师资格考试电子版应试宝典免费领(pdf)

全国2021年医师资格考试报考政策解读细则汇总,一文Get!

3人拼团49.9 元抢购!20余小时搞定医考 100+必考考点!

全国2021年医师资格考试笔试准考证打印/领取汇总(国家医学考试网)

以上关于“济源市2021年乡村全科助理执业医师初审合格人员名单”的文章由医学教育网编辑整理搜集,更多的文章随时关注医学教育网执业助理医师现场审核栏目!

正保医学教育网
上医学教育网 做成功医学人
打开APP
精品课程

高效定制班

直播+录播 含班级服务

4180

详情>>
热点推荐:
取消
复制链接,粘贴给您的好友

复制链接,在微信、QQ等聊天窗口即可将此信息分享给朋友
前往医学教育网APP查看,体验更佳!
取消 前往