医师资格

考试动态
复习指导
首页 > 医师资格 > 报名时间 > 正文

缴费 | 长春考点"一年两试"第二试未缴费考生名单公示

长春考点自10月20日起开放医师资格考试“一年两试”第二试缴费通道,缴费结束后,已对逾期未缴费考生逐一进行电话提醒。截止至10月25日13:30,缴费通道正式关闭,未缴费的考生无法打印准考证、现场无法参加综合考试第二试考试,除个别考生多次拨打电话均不接听、挂断情况,未缴费考生已逐一电话告知,现公示未缴费名单。

另外,所有重复缴费、错误缴费等需要退费的考生将在10月29日前陆续收到退款,请您关注微信支付退款通知。

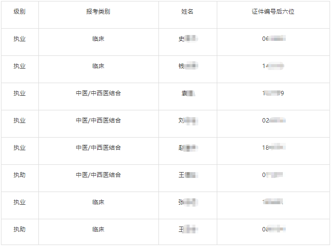
长春考点2021年医师资格考试“一年两试”第二试未缴费成功考生名单

未缴费成功名单

【成功缴费名单】长春考点2021年国家医师资格考试医学综合考试“一年两试”第二试报名缴费成功情况公示

信息来源:长春市医学考试中心

“缴费 | 长春考点"一年两试"第二试未缴费考生名单公示”的内容由医学教育网小编搜集整理,请各位考生重点关注,如果真的未缴费成功也不要气馁,相信一切都是最好的安排,小编会一直陪伴左右为您带来各类考情资讯,加油!

【推荐】

全国2021年医师资格考试医学综合考试(二试)网上缴费通知汇总

全国2022年医师资格考试备案相关工作事宜的通知汇总

【速来围观】2021年医师资格“我的医考之路”有奖征文学员投稿展示!

最后的救命稻草!2021年医师考试“一年两试”考前急救班强势来袭

2022年医师辅导高效定制班/笔试集训营每日一练计划启动,助力考生备考复习!

正保医学教育网
上医学教育网 做成功医学人
打开APP
全部评论(0打开APP查看全部 >
精品课程

高效定制班

直播+录播 含班级服务

4180

详情>>
热点推荐:
0
0
0
评论
取消
复制链接,粘贴给您的好友

复制链接,在微信、QQ等聊天窗口即可将此信息分享给朋友
前往医学教育网APP查看,体验更佳!
取消 前往
您有一次专属抽奖机会
可优惠~
领取
优惠
注:具体优惠金额根据商品价格进行计算
恭喜您获得张优惠券!
去选课
已存入账户 可在【我的优惠券】中查看